潘石屹一个月内密集注册7家公司,股东均为境外
仅仅一个月,SOHO中国(00410.HK)董事长潘石屹就密集注册了7家公司。
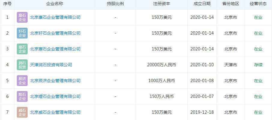
1月19日,澎湃新闻(www.thepaper.cn)在天眼查上发现,从2019年12月18日至2020年1月14日,潘石屹注册了7家公司,且公司股东均为注册在境外的公司,注册资本从150万元至2亿元不等。截至1月19日,潘石屹名下有115家公司。

其中,天津润石投资有限公司注册于1月10日,注册资本2亿元,公司类型为港澳台法人独资有限责任公司,潘石屹任公司总经理。经营范围包括在国家允许外商投资的领域依法进行投资;在中国境内设立科研开发中心或部门,从事新产品及高新技术的研究开发,转让其研究开发成果,并提供相应的技术服务;为其投资者提供咨询服务,为其关联公司提供与其投资有关的市场信息、投资政策等咨询服务;承接其母公司和关联公司的服务外包业务;承接其他境外公司的服务外包业务等等。
该公司的股东为宜恒投资有限公司,类型为香港特别行政区企业,该公司注册于2019年11月15日。
在新注册的7家公司经营范围中,只有天津润石的经营范围涉及境外投资和科技开发,其余6家的经营范围均为企业管理;机动车公共停车场服务;出租办公用房;经济贸易咨询;企业管理咨询;企业策划;设计、制作、代理、发布广告;承办展览展示活动;翻译服务;技术开发;技术咨询;技术转让;技术推广;技术服务;组织文化艺术交流活动(不含演出);打字、复印服务;电脑图文设计、制作;批发、零售日用品、工艺品。
在密集注册成立新公司之前的一段时间,潘石屹正在加速出售其在境内的资产。
2019年10月份,澎湃新闻了解到,SOHO中国开始进行交易其核心资产“八大金刚”,且交易对手是外资公司。潘石屹张欣夫妇最终的计划是将SOHO中国的核心资产“八大金刚”全部出售。
所谓的“八大金刚”是指北京的望京SOHO、光华路SOHO2期、前门大街、丽泽SOHO,以及上海的外滩SOHO、SOHO复兴广场、古北SOHO和SOHO天山广场项目。其中,丽泽SOHO目前还处于建设中。
此后市场上有传言称,潘石屹要卖资产跑路。2019年11月18日,在北京丽泽SOHO签约仪式上,潘石屹对此回应,“千万不要相信谣言,我现在拿的护照是中华人民共和国的护照。这房子建到这个地方,不能像过去一样拿点细软就跑了,这房子我带不动的,一毫米都不能移动。老是说我跑了跑了,这都是谣言,跑不了的。”
从目前的股权结构来看,潘石屹夫妇持有SOHO中国63.93%的股权,张欣为美国国籍。
但从SOHO中国的公开资料来看,目前SOHO中国手中持有9个项目,朝阳门SOHO目前不在出售资产包的列表中,朝阳门SOHO也是9个项目中可租售建筑面积最小的项目,可租售面积为45101平方米。若出售项目的交易达成,也就意味着潘石屹将SOHO中国在境内的资产几乎全部清仓。
从2014年至今,潘石屹也几乎每年都在出售资产,累计套现约293亿元。此外,在出售项目的同时,潘石屹再没有在境内再购入新项目。

